En Ruedas Alex, hemos diseñado una solución innovadora para un desafío que enfrentaba una empresa líder en automoción: trasladar un útil muy pesado manteniendo una altura mínima. La solución debía incluir horquillas con freno, bloqueo direccional, protector de pie y maniobrabilidad en espacios reducidos con giros de 90°.
Al principio, el cliente propuso dos opciones: tres ruedas giratorias en cada esquina o un sistema de rodillos combinado con ruedas giratorias. Sin embargo, nuestro departamento de homologación descartó ambas propuestas, optando por una solución más eficiente.
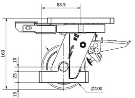
La opción que implementamos fue la serie HLB-NF, con ruedas de nylon fundido extrafuerte. Estas ruedas pueden soportar hasta 2.750 kg y son resistentes a agentes químicos y al desgaste. Además, incorporamos un bloqueo direccional y un protector de pie, diseñados para encajar perfectamente con las patas de la horquilla y proporcionar la robustez necesaria.

Realizamos pruebas de arrastre que fueron exitosas, permitiendo el desplazamiento manual y con una carretilla fenwick. Esta solución cumple con todos los requisitos del cliente, estableciendo un nuevo estándar en el manejo de útiles pesados en la industria automotriz.
Nuestra innovación no solo demuestra nuestra capacidad para ofrecer soluciones técnicas de alta calidad, sino también nuestra dedicación a satisfacer las necesidades específicas de nuestros clientes. En Ruedas Alex, seguimos comprometidos con la excelencia y la innovación en cada proyecto que emprendemos.